Wago / Автоматизация / Модульная система ввода-вывода I/O-SYSTEM / Модули ввода дискретных сигналов
Документация
Артикул
750438
Бренд
WAGO
Описание
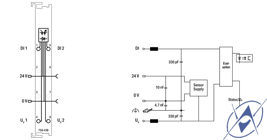
арт. 750-438
Цифровой модуль ввода записывает двоичные сигналы от датчиков, работающих в опасных зонах зоны 0+1.
Датчики NAMUR, оптопары, механические контакты или другие исполнительные элементы также могут быть подключены через искробезопасные устройства.
WAGO I/O System 750 должна быть установлена либо в зоне 2, либо в безопасной зоне. Каждый датчик питается защищенным от короткого замыкания напряжением 8,2 В.
Индикаторы:
- Зеленый светодиод (сигнал включен)
Полевой и системный уровни электрически изолированы.
Технические данные
| Количество цифровых входов | 2 |
| Общее количество каналов (модуль) | 2 |
| Тип сигнала | NAMUR NAMUR |
| Напряжение питания (датчик) | 8,2 В постоянного тока; защита от короткого замыкания, каждый канал питается отдельно |
| Подключение датчика | 2 х (2-проводной) |
| Входная характеристика | переключение высокого уровня |
| Входной фильтр (цифровой) | 3 мс 3 мс |
| Холостое напряжение | 8,2 В |
| Ток короткого замыкания | ≤ 8,2 мА |
| Сигнальный ток (0) NAMUR | ≤1,2 мА |
| Сигнальный ток (1) NAMUR | ≥2,1 мА |
| Гистерезис переключения | 0,2 мА |
| Длина входного импульса | 5 мс |
| Разделение входных импульсов | 3 мс |
| Потребляемая мощность P макс. | 0,4 Вт |
| Ширина входных данных (внутренняя) макс. | 2 бита |
| Искробезопасность Ex i | да |
| Входное сопротивление | 1000 Ом |
| Напряжение питания (система) | 5 В постоянного тока; через контакты данных |
| Потребляемый ток (питание системы 5 В) | 2,5 мА |
| Напряжение питания (поле) | 24 В постоянного тока; (источник питания Ex i: U O = макс. 27,3 В); через силовые перемычки (питание через ножевой контакт; передача через пружинный контакт) |
| Потребляемый ток, местное питание (модуль без внешней нагрузки) | 16 мА |
| Потери мощности P л | 0,27 Вт |
| Изоляция | 300 В переменного тока система/поле |
| Индикаторы | Светодиод (A, E) зеленый: состояние DI 1, DI 2 |
| Количество входящих контактов силовой перемычки | 2 |
| Количество отходящих контактов силовой перемычки | 2 |
| Допустимая токовая нагрузка (контакты силовой перемычки) | 1 А |
Взрывозащита
| Ex стандарт | ЕН МЭК 60079-0, -7, -11 |
| Важные для безопасности данные (контур) | U вых = 12 В; I вых = 13,5 мА; Р о = 40,5 мВт; Линейная характеристика |
| Реактивные сопротивления Ex ia IIC | L о = 190 мГн; С о = 1,4 мкФ |
| Реактивные сопротивления Ex ia IIB | L о = 600 мГн; С о = 9 мкФ |
| Реактивные сопротивления Ex ia IIA | L о = 1 Н; С о = 36 мкФ |
| Реактивные сопротивления Ex ia I | L о = 1 Н; С о = 38 мкФ |
| Реактивные сопротивления (примечание) | Реактивные сопротивления без учета совпадения емкости (C о ) и индуктивности (L о ) |
Требования к окружающей среде
| Температура окружающей среды (эксплуатация) | 0 … +55 °С |
| Температура окружающей среды (хранение) | -25…+85 °С |
| Тип защиты | IP20 |
| Степень загрязнения | 2 по МЭК 61131-2 |
| Рабочая высота | 0 … 2000 м / 0 … 6562 фута |
| Монтажное положение | горизонтальный (стоя/лежа); вертикальный |
| Относительная влажность (без конденсата) | 95 % |
| Виброустойчивость | 4 г согласно IEC 60068-2-6 |
Цифровой модуль ввода должен работать только с источником питания 24 В пост. тока Ex i!



